加入購物車成功!
應用

特點 ●裝配簡單,更換方便;
●壓簧式感溫元件,抗振性能好;
●測量范圍大;
●機械強度高,耐壓性能好;
工作原理
主要技術參數 ○產品執行標準
IEC584
IEC1515
GB/T16839-1997
JB/T5582-91 ○常溫絕緣電阻
○測量范圍及允差
| 型號 | 分度號 | 允許誤差與偶材等級 | |||
| I級 | II級 | ||||
| 允差值 | 測溫范圍℃ | 允差值 | 測溫范圍℃ | ||
| HD-WRN | K | ±1.5℃ ±0.004│t│ | -40~+375 375~1000 | ±2.5℃ ±0.0075│t│ | -40~+333 333~1200 |
| HD-WDM | N | ±1.5℃ ±0.004│t│ | -40~+375 375~1000 | ±2.5℃ ±0.0075│t│ | -40~+333 333~1200 |
| HD-WRE | E | ±1.5℃ ±0.004│t│ | -40~+375 375~800 | ±1.5℃ ±0.004│t│ | -40~+333 333~900 |
| HD-WRF | J | ±1.5℃ ±0.004│t│ | -40~+375 375~750 | ±1.5℃ ±0.004│t│ | -40~+333 333~750 |
| HD-WRC | T | ±1.5℃ ±0.004│t│ | -40-~+125 125~350 | ±1℃ ±0.0075│t│ | -40~+333 133~350 |
| HD-WRP | S | ±1℃ ±[1+0.003(t-1100)] | 0~+1100 1100~1600 | ±2.5℃ ±0.0025│t│ | 0~600 600~1600 |
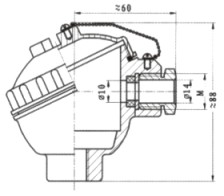
防水式 | 防噴式 |
型號命名方法
HD-W | 溫度儀表 | |||||||||
| | R | 熱電偶 | ||||||||
| | 感溫元件材料 分度號 | |||||||||
M | 鎳鉻硅-鎳硅 N | |||||||||
| 偶絲對數 | |||||||||
無 | 單支 | |||||||||
| 安裝固定形式 | |||||||||
1 | 無固定裝置 | |||||||||
| | 接線盒形式 | |||||||||
2 3 4 | 防噴式 防水式 防爆式 | |||||||||
| | 保護管直徑 | |||||||||
0 | Φ16 | |||||||||
| | 工作端形式 | |||||||||
G | 變截面 | |||||||||
| | ||||||||||
HD-W | R | N | 2 | —— | 2 | 3 | 1 | G | 典型型號示例 | |

選型須知
1)型號
2)分度號
3)精度等級
4)安裝固定形式
5)保護管材質
6)長度或插入深度
例A:熱電偶,K型,Ⅰ級,固定螺紋 M27×2,保護管316L,長度450mm,插入深度300mm。HD-WRN-220,K偶,L×I=450×300,Ⅰ級,保護管316L,螺紋M27×2。
熱電偶(適用于鎧裝和隔爆熱電偶)
| 序號 | 形式 | 保護管材質 | 公稱壓力 | 熱響應時間 | 備注 |
| 1 | 無固定 | 高鋁質 (***適用于N或K分度號) 1Cr18Ni9Ti 0Cr25Ni20 (適用于所有選型上熱電偶) | 常壓 | <24S (適用于工作溫度截面式) <90S (除了變截面式) | 保 護管直徑為 |
| 2 | 固定螺紋 | ≤10MPa | |||
| 3 | 活動法蘭 | 常壓 | |||
| 4 | 固定法蘭 | ≤2.5MPa | |||
| 5 | 活絡管接頭式 | 常壓 | |||
| 6 | 錐形固定螺紋式 | ≤30MPa | |||
| 7 | 直形管接頭式 | 常壓 | |||
| 8 | 固定螺紋管接頭式 | ||||
| 9 | 活動螺紋管接頭式 |
| 固定裝置類型 | 插入深度L (mm) | 附注 | ||||||||
| 150 | 200 | 250 | 300 | 350 | 500 | 1000 | 1500 | 2000 | ||
| 無固定 | 保護管總長 | |||||||||
| 固定螺紋 | ||||||||||
| 活動法蘭 | ||||||||||
| 固定法蘭 | ||||||||||
| 活絡管接頭式 | ||||||||||
| 錐形固定螺紋式 | ||||||||||
| 直形管接頭式 | ||||||||||
| 固定螺紋管接頭式 | ||||||||||
| 活動螺紋管接頭式 | ||||||||||
保護管材質及選用
| 材質 | 使用溫度 | 特點及用途 |
| 1Cr185Ni9Ti | -200~800 | 具有高溫耐蝕性,通常作為一般熱鋼使用 |
| 304 | -200~800 | 低碳含量,具有良好耐晶間腐蝕性,通常作為一般耐熱鋼使用 |
| 316 | -200~750 | 低碳含量,具有良好耐晶間腐蝕性,作為耐腐蝕鋼使用 |
| 316L | -200~750 | 超低碳含量,具有良好耐晶間腐蝕性,作為耐腐蝕鋼使用 |
| 310S | -200~1000 | 具有高溫抗氧化性,耐腐蝕型通常作為熱鋼使用 |
| GH3030 | 0~1100 | 鎳基高溫合金鋼,具有優良抗氧化性,耐腐蝕型,通常作為耐熱鋼使用 |






